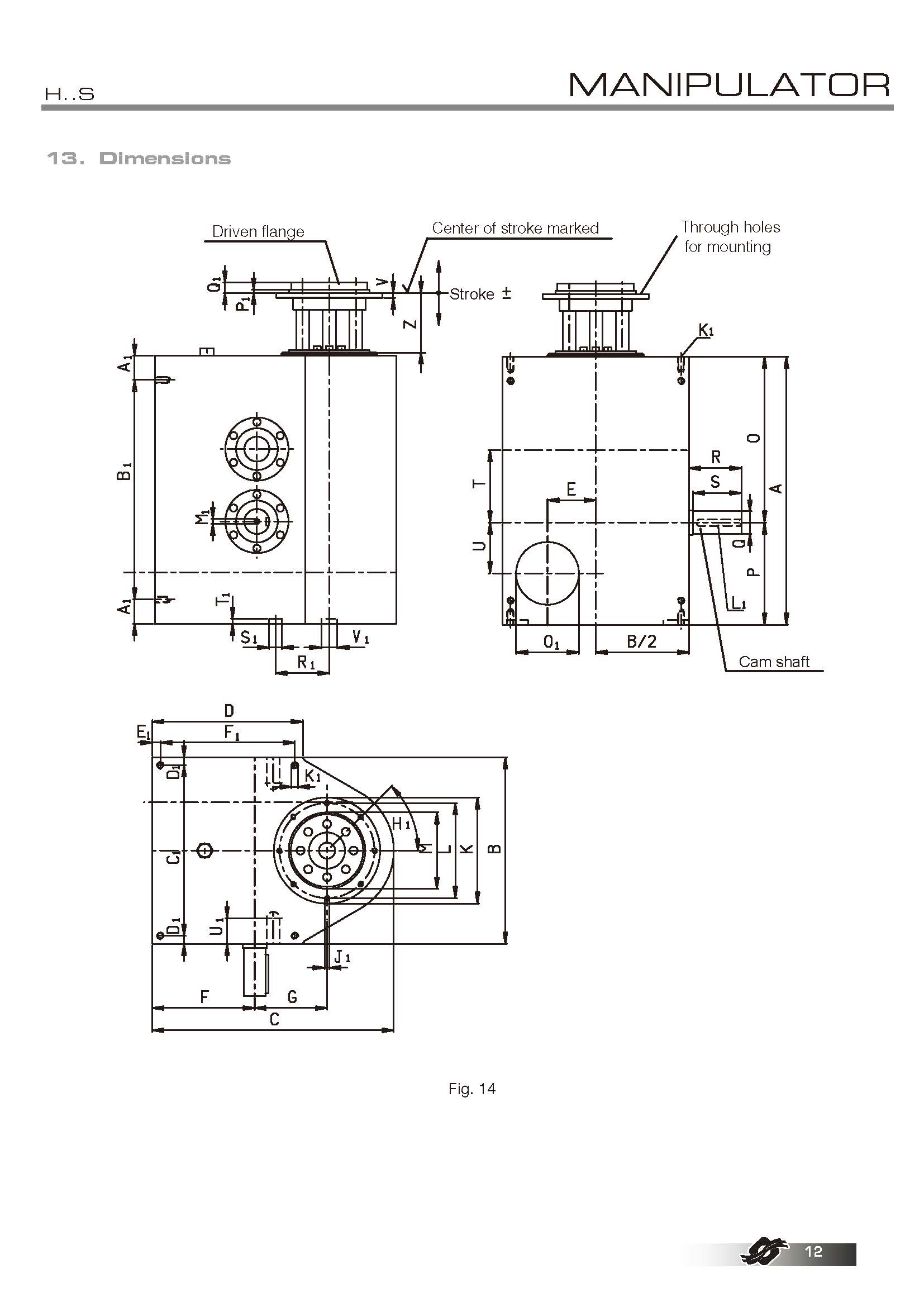
技术规格
| 标准型号: | 4:H65S - H8060 - H105S - H130S |
| 振荡最大值: | 90° |
| 单向旋转: | 180° |
| 直线行程(mm): | 高达 120 |
| 工件夹持臂长度 (mm): | 高达 500 |
| 负载运动: | 10Kg - 速度 40 次/分钟。 |
| 可根据需要进行特殊应用。 | |
描述
COLOMBO FILIPPETTI spa的H..S系列旋转机械手是共轭双凸轮机构,将输入的匀速旋转运动转换为旋转取放的典型运动,即旋转间歇运动和线性交替运动。
也可应要求提供范围广泛的特殊应用,这些应用是在 COLOMBO FILIPPETTI 水疗中心 50 年的活动中设计和制造的,这是一个独特而无与伦比的产品。





























































2384326522