安德鲁信重工江苏有限公司总代理
地址:江苏省江阴市澄江东路3号
电话:0510-86199978 86199979
传真:0510-86199980
邮箱:sales@andrewen.com
网址:www.ciibj.cn
MS系列可调多轴头
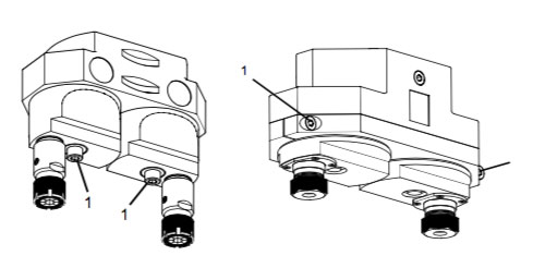
用于钻孔、攻丝和锪孔 可与传统机床配合使用 主体由热处理铝合金制成 小巧轻便 * MS:钻孔、攻丝/钻孔、螺纹切削 要设置合适的主轴之间的距离,请松开每个主轴单元上的螺钉 1 并沿相同方向旋转,直到达到所需的距离。 调整主轴以平衡加工过程中的力。然后使用扭矩扳手夹紧每个主轴的螺钉 1。
MS系列的特点
1轴多轴头
模型 主轴 联系 转速 最大牛米 重量 MS8-1 ER8 法兰 3,500 28 牛米 0.5公斤 MS11-1 ER11 法兰 3,000 56 牛米 1.8公斤 MS16-1 ER16 法兰 3,000 53牛米 3.3公斤 MS20-1 ER20 法兰 3,000 53牛米 2.5公斤 MS25-1 ISO25 法兰 2,500 64 牛米 4.4公斤 多主轴头带 2 个主轴
模型 主轴 联系 转速 最大牛米 重量 MS8-2 ER8 法兰 3,500 70 牛米 0.9公斤 MS11-2 ER11 法兰 3,000 130牛米 12.4公斤 MS16-2 ER16 法兰 3,000 124牛米 3.3公斤 MS20-2 ER20 法兰 3,000 135牛米 3.6公斤 MS20-2 ER20 法兰 2,000 170 牛米 9.5公斤 MS25-2 ER25 法兰 2,500 165 牛米 6.3公斤 MS25-2 ER25 法兰 2,000 201牛米 12公斤 3锭多锭头(直头)
模型 主轴 联系 转速 最大牛米 重量 MS8-3L ER8 法兰 3,500 83牛米 1公斤 MS11-3L ER11 法兰 3,000 148 牛米 2.8公斤 MS16-3L ER16 法兰 3,000 149 牛米 3.6公斤 MS20-3L ER20 法兰 3,000 169 牛米 4.9公斤 MS25-3L ISO25 法兰 2,500 207 牛米 7.7 公斤 3锭多锭头(三角形)
模型 主轴 联系 转速 最大牛米 重量 MS8-3 ER8 法兰 3,500 76 牛米 1.3公斤 MS11-3 ER11 法兰 3,000 145牛米 3.5公斤 MS16-3 ER16 法兰 3,000 136 牛米 4.9公斤 MS20-3 ER20 法兰 3,000 148 牛米 5.5公斤 MS25-3 ISO25 法兰 2,500 181牛米 9.2公斤 4锭多锭头
模型 主轴 联系 转速 最大牛米 重量 MS8-4 ER8 法兰 1,750 87 牛米 1.8公斤 MS11-4 ER11 法兰 3,000 161 牛米 4.6公斤 MS16-4 ER16 法兰 3,000 155牛米 6.6公斤 MS20-4 ER20 法兰 3,000 169 牛米 7.5公斤 MS25-4 ISO25 法兰 2,500 207 牛米 12.2公斤 


* MF:铣削、钻孔、攻丝/铣削、钻孔、螺纹切削调整


多主轴头图

机器连接和电压选项






2384326522